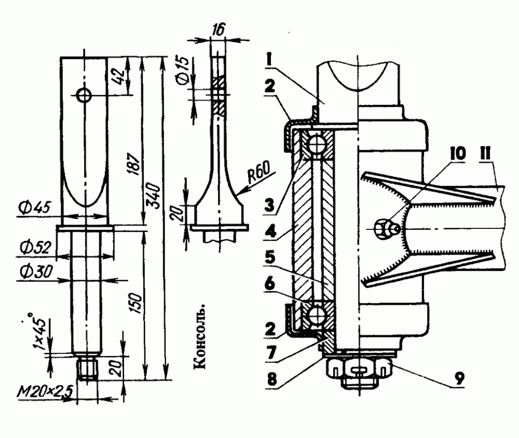
Водило
Из-за сложности эксплуатации прицепа соединение прицепа и водило пришлось делать шарнирным. В трубчатый корпус продольного шарнира вставлено дышло и зафиксировано упорным кольцом. Такое решение позволило колесам прицепа работать независимо от колес мотоблока, что весьма упростило управление на сильных неровностях.
Поворотный узел
Поворотный узел водила: 1 — консоль, 2 — пыльники, 3,6 — подшипники 36206, 4 — корпус, 5 — втулка распорная, 7 — втулка дистанционная, 8 — шайба, 9 — гайка М20х2,5, 10 — масленка, 11 — дышло
Водитель располагается на деревянном сиденье, расположенном в передней части кузова. На рисунках не изображена детально конструкция сиденья, я сделал ее с достаточно мягким основанием, без этого перемещение на прицепе было бы мукой. Для упора на дышле водителя сделана подножка.

Руками он держится за рычаги управления, а ногами опирается на деревянную подножку, прикрепленную к специальной рамке из уголков, на дышле водила.
В рамках небольшой статьи не возможно детально описать всю конструкцию, например, бортовые петли для груза и тд, но надеюсь, основная концепция и принцип реализации моей конструкции понятен.
Особенности комплектации самодельного электроснегоуборщика
В простейшей снегоуборочной машине с электродвигателем, сделанной своими руками, используется такая комплектация:
- Электродвигатель.
- Ковш со шнеком и выпускным желобом.
- Рама с ручками.
- Провод.
Двигатель – съемный или несъемный. Несмотря на это, комплектация всех самодельных снегоуборщиков очень схожа, так как дополнительное оборудование самостоятельно сделать практически невозможно
.

Предохранители в сенгоуборщике
- Попадание в шнек крупных твердых предметов – главная опасность при использовании самодельного снегоуборщика. Это влечет за собой не только поломки шнека, но и заклинивание двигателя. Для того, чтобы избежать поломок двигателя делают специальные предохранители.
- Используют предохранительные болты или втулки. С их помощью готовый шнек крепят к вращающему валу. При превышении допустимой нагрузки они просто ломаются, а двигатель остается исправным.
- Электродвигатель предусматривает наличие кабеля, который будет находиться на морозе. Большинство обычных кабелей не предназначены для работы в экстремальных температурах: они «замерзают» и плохо работают. Для работы на морозе используются провода типа КГ-ХЛ, ПГВКВ, SiHF-J, SiHF-O или их аналоги.
- Ширина ковша регулируется в зависимости от того, какой ширины будет рабочая поверхность. Для расчистки очень узких дорожек могут не подойти большинство стандартных ковшей, поэтому габариты должны предусматриваться заранее.
- В одноступенчатых снегоуборщиках удобно размещать выпускной желоб сверху и сбоку на ковше, чтобы снегу приходилось преодолевать меньшее расстояние. При этом спираль шнека должна быть наклонена под небольшим углом в ту сторону, где находится желоб.
Итак, сделать довольно несложно
. При этом затраты на него будут небольшими, а эффективность работы превышает все ожидания. Использование электрического снегоуборщика намного дешевле и легче, чем бензинового, но он ограничен длиной проводящего кабеля. Прочитайте , как сделать бензиновый снегоуборщик своими руками.
Взвесив, все плюсы и минусы, можно утверждать, что для уборки от снега территорий средних размеров очень удобно и одновременно дешево иметь свой снегоуборщик.
Собрались купить электрический снегоуборщик
- Обязательно осмотрите технику перед покупкой. Узнайте у продавца, что входит в стандартный комплект поставки.
- Выбирайте только проверенные магазины, которые могут предоставить сертификаты и гарантию качества.
- Откажитесь от приобретения малоизвестных брендов – они быстро выходят из строя, на них трудно достать расходники.
Магазин Cheaptool является официальным дилером, поэтому у нас вы всегда можете купить лучшую технику по доступным ценам. В Москве расположен наш сервисный центр, где проводится быстрое и качественное техобслуживание.
13890 28.07.2019 7 мин.
С наступлением зимы начинает выпадать снег. Для многих владельцев частных участков очистка от снега является большой проблемой. Работая лопатой, можно потратить много сил и времени, а результат все равно не будет идеальным. Для помощи людям были созданы электрические снегоуборщики (см. ). Однако часто их цена слишком высока для людей. Поэтому возникает вопрос: как сделать снегоуборочную машину с электродвигателем своими руками?
Принцип работы
Шнековые и шнеко-роторные снегоуборщики отличаются друг от друга рядом особенностей рабочих систем. Шнеко-роторные машины убирают снег с помощью специального колеса с лопастями. Как правило, эти агрегаты выпускаются самоходными, оснащенными специальным приводом на колеса.
Используется такая спецтехника, укомплектованная сравнительно мощными двигателями, на больших площадях, значительно облегчая работу оператора и сокращая время выполнения задач. Для небольших территорий больше подходят устройства с мощностью двигателя не превышающей 5 лошадиных сил.
Более подробно можете увидеть на приведенных видео:
В основном это несамоходные агрегаты, отлично справляющиеся со своей задачей уборки свежего и не утрамбованного снега на дачных участках, дорожках загородных домов, дворах и аллеях медицинских учреждений.
Шнековый снегоочиститель во время работы захватывает порцию снега ковшом, изготовленным из металла или пластика. Вращающийся шнек перемалывает снег, который затем отправляется в выпускной желоб. Выпускной желоб предназначен для выброса снега в необходимом направлении.
Еще одной важной характеристикой является наличие привода на колеса. У несамоходных моделей привод на колеса отсутствует, и перемещение агрегата осуществляется вручную
Помощь оператору оказывает только шнек, оснащенный резиновыми элементами. А о том, как собрать самоходный снегоуборщик своими руками мы расскажем тут.
Подобные элементы не только аккуратно обращаются с очищаемой поверхностью, но и помогают продвигать машину вперед, подтягивая ее после контакта с покрытием.
Минус таких агрегатов заключаются в небольшой дальности выброса, не превышающей пяти метров, неспособности справляться с лежалым снегом и ледяной коркой, проблемах во время уборки на неровных участках. В остальном – список плюсов:
- Доступная цена.
- Комплектация прорезиненными шнеками.
- Компактные размеры.
- Маневренность.
- Бесшумная работа при условии установки электродвигателя.
- Приемлемый вес.
Как видите несмотря на внушающее количество достоинств, у устройства довольно много недостатков и если вы взглянув на них, решили, что лучше приобрести полноценный агрегат, то советуем рассмотреть в качестве потенциальной покупки- снегоуборщик Forte qi jy 50, ведь у него довольно приемлемая цена.
Выбираем тип двигателя
Перед тем, как сделать ручной снегоочиститель, необходимо понять, какой тип двигателя лучше выбрать — электрический или бензиновый.
Электродвигатель
Электрические агрегаты отличаются бесшумной работой и очень просты в обслуживании. Также они не требуют никаких расходных материалов. Единственное неудобство электрических аппаратов – это постоянно мешающий передвижению электрический кабель. Конечно же, можно использовать двигатель, работающий от аккумуляторных батарей, но время работы такого уборщика будет ограничено уровнем заряда АКБ. Поэтому, если вы собираетесь сделать электрический снегоуборщик, знайте, что работать он сможет только в пределах двора, то есть дальность передвижения агрегата будет ограничена длиной кабеля питания.
Бензиновый ДВС
Бензиновые уборщики снега – это мощные и довольно шумные агрегаты. Они справляются с толстыми снежными покровами, в том числе и обледенелыми. Бензиновые аппараты имеют преимущество перед электрическими, не только по мощности, но и по мобильности, поскольку не зависят от электрической сети. Благодаря этому агрегаты можно использовать для уборки снежных заносов на больших площадях, например, возле дворов частного сектора, во дворах многоэтажек, на тротуарах, на отдельных участках дороги и т.д. Но несмотря на перечисленные достоинства бензиновых аппаратов, у них есть и недостатки:
- требуется обслуживание двигателя;
- нужна регулярная заправка ГСМ;
- наличие выхлопных газов;
- высокий уровень шума при работе двигателя.
С чего начать?
Чтобы сделать прицеп для мотоблока своими руками нужно заготовить чертежи. С этого этапа начинается монтаж любой конструкции.
Даже простое схематичное изображение прицепа поможет вам определить количество исходного материала, и существенно облегчит процесс сборки
Рекомендуем уделить внимание раме прицепа и ходовой части
На эти элементы ляжет основная нагрузка, поэтому они должны обладать достаточной прочностью, но при этом не утяжелять конструкцию. Иначе двигатель мотоблока просто не потянет тяжёлый прицеп.
Кроме того, советуем заранее продумать способ крепления колёс к раме. Учитывая, что большинство доморощенных мастеров используют уже готовые колёса, снятые с легковых автомобилей и старых мотоциклетных колясок.
Обычно в качестве полуоси используется обыкновенный металлический стержень, пропущенный через обрезок водопроводной трубы. Учтите, что длина оси не должна превышать ширину прицепа.
Элементы несущей конструкции советуем скреплять между собой при помощи электросварки. Использование резьбовых соединений в данном случае нецелесообразно. Болты могут не выдержать нагрузок.
Принцип работы шнековой снегоуборочной машины
По способу очистки снега снегоочистительные машины делятся на одноступенчатые (шнековые) и двухступенчатые (шнекороторные).
Как работает одноступенчатая шнековая машина
Принцип работы одноступенчатого, или шнекового, снегоуборщика заключается в том, что загребание, измельчение и сбрасывание снега происходит только благодаря вращению шнека. Причем бывает зубчатая и гладкая рабочая кромка шнека: гладкая – для уборки рыхлого снега; зубчатая – для твердой, обледеневшей снежной корки.
Шнековые машины, как правило, легче шнекороторных и могут быть только несамоходными. Это так называемые лопаты на колесах, которые нужно толкать вперед, из-за чего они сгребают снег и отбрасывают его в сторону. Шнек снегоуборочный приводится в движение с помощью электрического или бензинового двигателя (двухтактного или четырехтактного). Такие машины хороши тем, что они довольно легкие в управлении, компактные и недорогие.
Принцип работы двухступенчатой машины
Двухступенчатый, или шнекороторный, снегоуборщик устроен немного иначе. Первая ступень его конструкции предусматривает загребание снега шнеком; вторая ступень – выбрасывание через желоб проводится с помощью специального ротора – крыльчатки сброса.
Шнек у в таких моделей роторных снегоуборщиков устроен по стандартному принципу винтового вала, с гладкой или зубчатой кромкой. Шнеки могут быть металлические стальные или резиновые, резиново-пластиковые, армированные сталью, в зависимости от того, ручной снегоуборщик или самоходный.
Крыльчатка снегоуборщикау двухступенчатых шнекороторных машин имеет от трех до шести лопастей и также может быть изготовлена из разного материала, в зависимости от интенсивности работ, которые ей придется выполнять. Это может быть как пластик (для простых моделей), так и металл (для более обширного участка работ).
Сборка шнекового снегоочистителя
Снегометы, в основе которых используется шнек, являются самыми мощными и способными справляться даже с обледенелым снегом. К тому же шнек чаще всего используется в самоходных снегоуборочных машинах.
На базе бензопилы
Изготавливается данная снегоуборочная машина своими руками достаточно просто. Поскольку она будет работать от двигателя бензопилы, то потребуется несколько дополнительных деталей для цепного привода. Для этих целей можно использовать переднюю и заднюю звездочки от мотоцикла, а также цепь от него.
Как изготавливается рама и шнек, было описано выше. К раме приделывается длинная рукоятка. На вал шнека с правой стороны устанавливается большая звездочка от мотоцикла, а на вал двигателя бензопилы – маленькая. Далее, бензопила устанавливается на раме, после чего на звездочки одевается и натягивается цепь. Для управления двигателем тросик газа выводится на рукоятку, прикрепленную к раме.
Ниже приведены чертежи самоделки на шасси, где в качестве основной части привода применяется бензопила.
На базе триммера
Чтобы изготовить шнековый снегоуборщик из электрического триммера или из бензокосы, потребуется установка редуктора: он будет служить для передачи вращательного движения от вала триммера на вал шнека.
Но здесь есть один нюанс. Редуктор для данного типа агрегатов стоит достаточно дорого, и покупать его для изготовления приставки к триммеру нецелесообразно. Поэтому на базе последнего изготавливают снегоуборочники роторного типа, о которых будет говориться далее.
На базе мотокультиватора (мотоблока)
Самым простым дополнением к мотоблоку является отвал для снега.
Самодельная снегоуборочная насадка (лопата) на мотоблок прикручивается к раме агрегата, после чего он превращается в небольшой бульдозер.
Совет! Вместо отвала к передней части рамы мотоблока или мотокультиватора можно прикрепить шнек, в результате чего вы получите снегоуборочную самоходную машину. Данная приставка для мотоблока в случае ненадобности легко отсоединяется от основного агрегата.
Ниже приведена схема, на которой хорошо видна конструкция снегоуборщика на базе культиватора.
Схема расшифровывается следующим образом.
- Привод снегоуборщика, соединяющий двигатель со шнеком.
- Привод гусеницы.
- Ремень привода.
- Ролик (паразитный) для обеспечения заднего хода.
- Промежуточный вал.
- Ролик для натяжки ремня. Благодаря ему обеспечивается движение агрегата вперед.
Самоходный снегоуборщик значительно облегчает уборку снега, особенно на больших территориях, где использование аппарата на лыжах, толкаемого оператором, требует больших затрат физических сил последнего.
Виды снегоуборочной техники для дома своими руками
Снегоуборочные машины предназначены для механического удаления снежного покрова на требуемом участке. В их функции входит сбор снежной массы и откидывание ее к месту сбора. Двигатель, приводящий в действие машину, может быть электрическим или бензиновым. А саму снегоуборочную технику подразделяют на самоходную (с гусеничным или колесным приводом), с ручным управлением, одноступенчатую и двухступенчатую.
Для самостоятельной сборки такой садовой техники можно использовать двигатель от бензопилы, электромотор или мотоблок, а также различные подручные материалы, которые наверняка имеются у каждого в хозяйстве. Перед тем как сделать снегоуборщик своими руками, следует ознакомиться с разновидностями такой техники и выбрать для себя приемлемый вариант.

Выбор конструкции снегоуборщика зависит от многих факторов, одним из которых является площадь участка, который предполагается обрабатывать
Электрические снегоуборщики способны очистить небольшие участки рядом с домом, например, крыльцо или неширокие дорожки. Для освобождения от снежного покрова территории внушительных объемов такой агрегат не подойдет. Кроме того, его работа не отличается эффективностью, если имеют место наледи или значительные сугробы. С другой стороны, подобная техника довольно компактна, легко управляется и удобна в хранении.
С удалением большого количества снега с огромных территорий прекрасно справляются самоходные снегоуборочные машины на бензиновом двигателе. Передвигаясь самостоятельно, эти аппараты обладают отличной проходимостью и большой дальностью выброса. Техника имеет достаточно большие размеры, однако при работе абсолютно не нуждается в применении физических усилий.
Перед тем как сделать ручной снегоуборщик своими руками, нужно иметь в виду, что несамоходные модели предназначены для уборки небольших участков от свежевыпавшего снега толщиной до 25-30 см. Их в основном используют для ежедневной очистки тротуаров, садовых дорожек и крыш плоской формы. Такие устройства достаточно маневренные, однако при удалении плотного слоя управлять техникой будет затруднительно, так как придется толкать не только аппарат, но и толщу снега перед ним.

Снегоочиститель, созданный своими руками, с двигателем от бензопилы
План изготовления прицепа для мотоблока
Для колесной оси необходимо взять стальной стержень, диаметр которого составляет не менее 30 мм. Длина стержня, которая составляет 1070мм, выбрана таковой не с проста – это сделано для того, чтобы колеса прицепа не выступали за рамку обвода кузова.
Кузов прицепа для мотоблока выполняется из деревянных досок, и толщина его составляет 20 мм (не обязательно брать за основу доски, это может быть и другой, более удачный по Вашему мнению материал). На углах для большей прочности кузов усиливается металлическими накладками. К раме он крепится с помощью болтов и 3-ех опорных рамок, размер которых составляет 50*50 мм.
Прицеп для мотоблока своими руками в основном предназначается для того, чтобы перевозить груз в мешках, поэтому борта его не являются откидными, хотя при желании можно продумать и такую возможность. Если Ваш прицеп будет предназначен для более обширных целей, то борта можно сделать и откидными, а если сильно постараться то можно сделать и самодельный прицеп к мотоблоку самосвал.
Если говорить о колесах для прицепа, то здесь подойдут колеса, что и для мотоблока СЗД.
Прицеп соединяется с мотоблоком с помощью заранее подготовленной консоли тупицами, а вот ось в свою очередь подтачивается под посадочный диаметр. Последняя изготавливается таким образом, чтобы подходить непосредственно под штатную сцепку мотоблока, для того чтобы было удобнее использовать навесное оборудование.
Верхняя ее часть выглядит как опорная ось, вокруг которой в двух подшипниках вращается поворотный узел водила. Подшипники при этом прикрываются пыльниками, пространство же между которыми должно быть заполнено любой смазкой.
Что же до водила, то оно соединяется с рамой прицепа для мотоблока шарнирно, то есть таким образом, что дышло вставляется непосредственно в трубчатый корпус продольного шарнира, и все это фиксируется упорным кольцом и болтом размерного ряда М8. На неровной дачной дороге это позволяет колесам прицепа для мотоблока быть независимыми от положения колес самого мотоблока, что поможет избежать многих проблем. Ниже вы сможете ознакомиться с видео самодельный прицеп для мотоблока.
Преимущества электрических снегоуборщиков.
К
плюсам снегоотбрасывателей с электродвигателем можно отнести следующие:
- Минимальная цена;
- несущественные энергозатраты;
- низкий уровень шума и
вибраций; - отсутствие сложного
технического обслуживания и периодической заправки топлива; - продолжительное время
работы; - неприхотливость с
запуском при отрицательной температуре;
Что касается цен на электрические снегоуборщики, то они стоят намного дешевле бензиновых снегоотбрасывателей .
Особенности владения.
Электромодели уступают аналогам на бензине, но для незначительных владений и непродолжительной работы они подходят идеально. Такие устройства легкие и компактные, поэтому обладают превосходной маневренностью и доставляют меньше хлопот пользователю. Вы запросто обработаете с помощью них малодоступные места и поместите их в гараже.
Электрические снегоуборщики можно рекомендовать для быта и несложных полупрофессиональных работ: расчистки территорий возле магазинов, стоянок, офисных зданий. Учитывайте, что длина сетевого кабеля ограничит ваше передвижение. Зато вам не придется тратиться на горючее, проводить регулярное техобслуживание и замену расходников.
Такие аппараты полностью безопасны для окружающей среды, не загрязняют ее вредными выхлопами и не вредят здоровью оператора. Двигатель функционирует от электросети и приводит в движение все механизмы. Для полноценного рабочего состояния и долгого срока службы советуем подключаться только к проверенным розеткам на 220В, где нет проблем с напряжением.
Для увеличения срока службы агрегата, не забывайте его после каждого применения очищать, чтобы влага не попала на мотор и другие детали, иначе это приведет к поломке. При длительной эксплуатации делайте небольшие перерывы, чтобы движок не перегревался.
Устройство роторного снегоуборщика своими руками
Основными составляющими самодельного роторного снегоуборщика своими руками являются:
- двигатель внутреннего сгорания, оснащенный глушителем;
- топливный бак;
- трос управления дроссельной заслонкой.
Для изготовления всех элементов снегоуборщика необходимо будет наличие токарного станка. Его используют для того, чтобы подогнать все детали механизма до нужного размера. Если такого оборудования нет в наличии, изготовление ротора можно заказать в мастерской по имеющимся у вас эскизам.
Мероприятия по устройству роторного снегоочистителя можно разбить на несколько этапов:
- сборка шнекового механизма;
- изготовление ротора;
- монтаж корпуса;
- устройство каркаса.
Изготовив каждый узел отдельно, их собирают в одну конструкцию. Чтобы снегоуборочная машина имела презентабельный вид, ее после сборки окрашивают.

Устройство самодельного роторного снегоуборщика: А — корпус; Б — диск ротора; В — ступица; Г — лопатка; Д — кольцо; Е — дефлектор; Ж — скребок; З — кронштейн; И — нож; К — полозья; Л — брусок ручки; М — подкос; Н — поперечный брусок; О — брусок для двигателя; П — ручка
Изготовление комплектующих для роторного снегоуборщика
Технология изготовления шнекового механизма аналогична устройству шнека для снегоуборочной машины из бензопилы. В качестве винтовых лопастей можно использовать плотную (толщиной 10 мм) транспортерную ленту. Габариты шнекового узла должны соответствовать размерам на чертежах.
Ротор изготавливают из листового металла толщиной 2,5-3 мм. С помощью циркуля необходимо начертить на листе круг нужного диаметра и вырезать его болгаркой. Чтобы сделать лопасти, за основу берут заготовочную деталь от электродвигателя. Из листового металла формируют лопасти. Их приваривают на равноудаленном расстоянии друг от друга к стальному диску, соединенному со ступицей. Количество лопастей должно быть не менее четырех.
Каркас для снегоочистителя собирают, сваривая отрезки из металлического уголка в раму согласно имеющейся схеме. Все составляющие каркаса крепятся посредством болтового соединения.

Для самостоятельной сборки снегоуборочной машины можно использовать подручные материалы
Когда все составляющие снегоуборщика будут готовы, приступают к их сборке в единый агрегат. На роторный механизм насаживают вал шнека. Затем весь этот механизм фиксируют на каркасе с помощью болтов и прижимного кольца. Крепление ротора к раме производится посредством специальной скобы. В качестве снегоотбрасывателя для самодельного роторного снегоуборщика используют трубу из пластика диаметром 100 мм.
Преимущества комбинированных моделей снегоуборщиков
В сравнении со шнековыми агрегатами снегоуборочные машины комбинированного исполнения более эффективны в работе, так как нагрузку распределяет между собой и шнек, и ротор. Они обладают достаточной мощностью и могут справиться с очисткой территории от снежной толщи внушительного объема. Среди преимуществ самодельных роторных снегоочистителей выделяют:
- отличную маневренность и высокую производительность техники;
- в зависимости от используемого двигателя, дальность выброса снега может достигать 12 м;
- возможность регулировать ширину захвата снежного покрова;
- небольшой вес машины (до 20 кг) позволяет справиться с очищением придомового участка (в том числе и женщине);

Процесс очищения придомовой территории от снега
- возможность проведения ремонта снегоуборщика своими руками;
- невысокая стоимость материалов для изготовления всех комплектующих агрегата.
Самостоятельное изготовление роторной снегоуборочной машины довольно сложное и кропотливое дело. Если вы плохо разбираетесь в технике, не обладаете определенными навыками или не имеете необходимого инструмента, а купить заводскую модель пока не позволяют финансы, можно изготовить своими руками снегоуборочную лопату.
Описание и устройство снегоуборщика для мотоблока
Основание лыж изготовлено из деревянных брусков, к которым крепятся накладки из пластика. В данном случае использованы короба от электропроводки.
В качестве основной детали поворотного желоба, который отбрасывает снег, используется кусок пластиковой трубы, с диаметром 160 мм. Желоб, который выбрасывает снег, крепится к этой трубе. Ширина лопатки шнека должна быть меньше диаметра желоба, благодаря чему будет осуществятся выброс снега.
Для изготовления рамы используются металлические уголки 50х50 мм. К ним привариваются поперечные уголки 25х25 мм. На них устанавливается быстросъемная платформа двигателя. Поперечные уголки и ручка крепятся болтами М8 на продольных уголках рамы.

В данном случае использовали такой принцип работы снегоуборщика. Колеса ему особо не нужны, только для передвижения по сараю. Поэтому вместо колес установлены лыжи, которые позволяют при наклоне снегоуборщика вперед счищать с дорожек снег. Если наклонить назад, снег можно откидывать поэтапно, в случае небольшого покрова снега. В будущем можно модернизировать в самоходный снегоуборщик с одной широкой гусеницей, особо ничего при этом не переделывая.
После покраски, сделанный снегоуборщик будет выглядеть как фирменный.
Самостоятельное изготовление шнека
Шнек для снегоуборщика – это основная подвижная часть агрегата, изготовление которой не вызывает затруднений. Лучше всего для изготовления шнека использовать резиновую ленту от транспортера толщиной 10 мм и длиной 1,5 м. Из резиновой полосы необходимо вырезать кольца в количестве 4 штук с диаметром 28 см. Детали легко вырезаются с помощью электрического лобзика.
Совет! Чтобы вырезать кольца из ленты, можно обойтись и без лобзика. Вкрутите в небольшую дощечку 2 острых шурупа и используйте данное приспособление как циркуль. После нескольких полных оборотов резака кольцо будет вырезано.
Ниже приведены чертежи всех деталей шнека.
В качестве вала берется металлическая труба диаметром 27 мм. К ее концам закрепляются переходники, на которые устанавливаются подшипники. В центральной части трубы делается пропил длиной 120 мм, в который будет установлена центральная пластина, предназначенная для отбрасывания снега. Также на трубу одеваются и привариваются 4 пластины. К ним и к центральной пластине будут крепиться резиновые кольца. Как это делается, хорошо видно на следующем фото.
Прицеп на мотоблок – изготовление простой конструкции
Этот вариант подойдет для тех, кто не желает тратить свое время. Для работы потребуется подготовить такие материалы:
- трубы из стали, размерами 25×25 мм;
- трубы, размерами 60×30 мм;
- лист из дюралюминия, толщиной 2 мм;
- швеллер №5;
- колеса с рессорами от автомобиля марки Москвич или ВАЗ;
- лист стали, толщиной не более 0,8 мм;
- комплект крепежей;
- болгарка;
- электрический лобзик;
- шуруповерт;
- сварочный аппарат.
- Для обустройства рамы сделайте 2 траверсы, используя с этой целью 2 уголка, размерами 25×25 мм – они будут играть роль поперечин в передней и задней части конструкции;
- Далее сделайте лонжероны, используя трубы 60×30 мм;
- Соедините все изготовленные детали посредством пяти абсолютно одинаковых поперечин – в результате у вас должна образоваться конструкция в виде решетки. При этом платформа применяемой решетки должна быть размещена с небольшими выпусками по отношению к лонжеронам, помещенным в траверсу и установленную поперечину. В дальнейшем к выпускам будут привариваться продольные трубы из стали;
- Далее приварите к продольным трубам 4 полностью одинаковых стойки. К верхней точке последних приварите обвязки, для создания которых воспользуйтесь уголком, размерами 25×25 мм;
- Чтобы самодельный прицеп имел откидные бортики, его рамки необходимо изготовить отдельно;
- Покройте решетку используемой платформы цельным листом из дюралюминия и закрепите его посредством болтов. Чтобы зашить бортики возьмите стальные листы меньшей толщины и приварите их к стойкам и обвязкам;
- Чтобы сделать балку вставьте друг в друга 2 швеллера с одинаковой длиной. Один из концов взятого швеллера должен быть оснащен колесными осями;
- Готовую балку прикрепите к лонжеронам, используя исправные рессоры. С этой целью концы последних наденьте на оси серьги и ранее установленного кронштейна;
- Для изготовления дышла воспользуйтесь прямоугольными трубами, размерами 60×30 мм. Рессоры в их центральной части приварите к балке;
- Если вам нужна двухосная конструкция, то передние концы используемых труб потребуется состыковать и приварить их к тягово-сцепному устройству мотоблока. Трубы в их задней части приварите к передним отрезкам лонжеронов. При этом обязательно учтите, что задние их концы должны располагаться внахлест на 20 см.
Разборка и смазка редуктора снегоуборочной техники
Прежде чем смазать шестерни и остальные элементы редуктора, нужно полностью разобрать механизм. Сегодня можно услышать массу советов по поводу того, как снять редуктор на снегоуборщике. Всех их можно описать в таком алгоритме:
- В первую очередь необходимо демонтировать кожух защиты ремней и трос приводного шнека;
- Далее нужно открутить болты, которые находятся за «улиткой»;
- После этого потребуется снять ремень шнека со шкива;
- Далее нужно открутить болты, удерживающие вал шнека;
- После этого потребуется повернуть «улитку», и вытащить шнек вместе с крыльчаткой;
- Далее нужно убрать срезные болты и разобрать вал;
- В конце потребуется разобрать сам редуктор.
Многие новички не знают, как правильно разобрать сам редуктор. Для этого необходимо действовать в следующем порядке:
- Сначала нужно зажать тисками одну из частей вала;
- После этого потребуется открутить 6 болтов, фиксирующих обе части редуктора вместе;
- Далее необходимо взять молоток и немного постучать по корпусу редуктора.
Разобранный редуктор нужно окунуть в бензин, чтобы до конца смыть остатки старого смазочного материала.
Смазка для редуктора снегоуборщика вноситься в определенном алгоритме:
- Для начала необходимо зачистить редуктор и штуцер от остатков старого масла;
- Далее нужно выкрутить штуцер и внести при помощи шприца нужное для работы количество смазки;
- После этого штуцер необходимо вкрутить обратно и собрать механизм в обратном порядке.
Большинство производителей снегоуборщиков заранее предупреждают покупателей о том, что внутри редуктора находится недостаточное количество смазочного материала. В таких случаях масло требуется залить после первых десяти часов эксплуатации снегоуборочной машины.
Как сделать прицеп для мотоблока своими руками?
Теоретически телегу для мотоблока можно разделить на такие основные узлы – колеса, кузов, рама, сцепка. Перед началом работ сперва нужно продумать конструкцию до мелочей, просчитать размеры и создать чертежи
Также обратите внимание на такие моменты, как соединение сплошных узлов и деталей (сварка, свинчивание, клепка), соединение подвижных узлов (втулки, подшипники, шарниры, ось), конструкция сидения (простое или регулируемое), функционал кузова (самосвал или статический), подставки для ног (платформа или подножки) и т. д
После того, как Вы определились с проектом будущего прицепа и подобрали нужные материалы, нужно очистить заготовки от ржавчины и грязи, при необходимости обрезать их и подогнать под чертежи, скрепить. По завершению работ прицеп желательно покрасить.
Поэтапная работа над самодельной телегой на мотоблок выглядит следующим образом.
Сборка рамы для прицепа к мотоблоку
Простейший вариант изготовления рамы – соединить кусок трубы или металлопрофиля с колесной осью.
Такой вариант подойдет для небольшого прицепа, к раме которого будет крепиться уже готовый кузов. Для более надежной и мощной конструкции нужно варить раму из труб круглого и прямоугольного сечения и уголков.
Установка оси
Колесная ось может быть также изготовлена самостоятельно. Для этого берется стальной стержень не менее 1,07 см в длину и 30 мм в диаметре.
Длину следует учитывать и корректировать, исходя из размеров кузова прицепа. Колеса можно подобрать от старой садовой техники, от ручной тележки, мотоцикла, мопеда или автомобиля – все зависит от габаритов будущего изделия. Схемы 2 вариантов крепления колесного шасси приведены на рисунках ниже. Одноосный прицеп имеет существенный недостаток – смещенный центр тяжести. Из-за этого может перевернуться кузов, груз в нем, или это вовсе приведет к поломке техники. Для большой тачки, предназначенной для перевозки немалых грузов, следует проектировать двухосную конструкцию. Основные крепления и детали останутся такими же, как и для проекта одноосной тележки.
Кузов прицепа
Кузов выполняется из деревянных досок или из листа металла. Для дополнительной прочности следует по бокам и снизу предусмотреть ребра жесткости. В деревянных кузовах углы укрепляются металлическими уголками. Задний борт рекомендуется делать на петлях, для возможности открывания (особенно полезным откидной борт будет для самосвальных агрегатов).
Сцепка и сиденье
По завершении основных работ, после скрепления всех основных узлов конструкции можно приступать к сборке остальных деталей прицепа. Наиболее важными является сцепка и сиденье.



























































